CKcemeteries main wiki

This is a PRIVATE website owned by John Skakel. Contact us HERE
Cemeteries Office Staff have asked that users NOT contact them with questions directly.

Cemeteries of Chatham-Kent gallery - Images of the cemeteries of Chatham-Kent Ontario

Home > Extra Cemeteries (( beyond Chatham - Kent boundaries )) > FANSHER CEMETERY ( Lambton County )

Click to view full size image

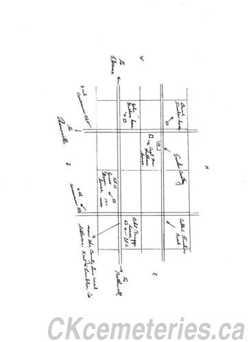
FANSHER CEMETERY MAP

FANSHER CEMETERY ( Lambton County ) Extra Album

FANSHER CEMETERY MAP
DONATED BY A PERSON WHO
RECEIVED IT FROM ONE OF THE
OLDER FANSHER Men.

Photo: Courtesy of:
R. Mebane,
SC, USA

Fansher_Cem0015B15D.jpg Fansher_Cem0025B15D.jpg Fansher_Cem0035B15D.jpg Fansher_Cem0045B15D.jpg



Add your comment
Anonymous comments are not allowed here. Log in to post your comment